Ford Explores Manual Shifters for EV Cars
Filling a patent for the system with the US Patent and Trademark Office.
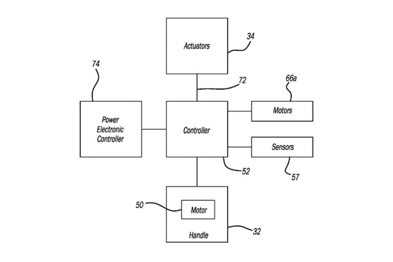
Ford has filed a patent for a manual gear shifter designed specifically for electric vehicles. Published on March 20, the patent outlines a “Shifter Assembly For Electric Vehicle” that replicates the feel of a traditional stick shift — without actually changing gears.
Instead of mechanical linkages, the setup uses actuators and an electronic power controller to alter motor output as the driver goes through the simulated gears. Force feedback motors in the base of the lever provide vibration and resistance, mimicking the sensation of shifting in a combustion-powered car. Ford’s move follows similar efforts by Hyundai with its Ioniq 5 N and Toyota’s simulated stick prototypes in the Lexus RZ. While EVs don’t need gears, the tech aims to boost driver engagement, especially for enthusiasts nostalgic for the tactile feel of driving a manual.
At the time of writing, Ford has not revealed any specifics on when this tech will be integrated into its model lineups. While still just a patent filed in 2023, the concept could signal a future where EVs appeal to stick-shift lovers — without the stalls.




















