Apple's Official Reveals Why Touchscreen and Face ID Are Absent in New MacBooks
Tech & Gadgets

Apple's Official Reveals Why Touchscreen and Face ID Are Absent in New MacBooks

It is more user-friendly to exclude them.

Apple Unveils New Updates to iPad Lineup, Including iPad Mini
Tech & Gadgets

Apple Unveils New Updates to iPad Lineup, Including iPad Mini

A new A13 Bionic chip provides 20% faster performance.

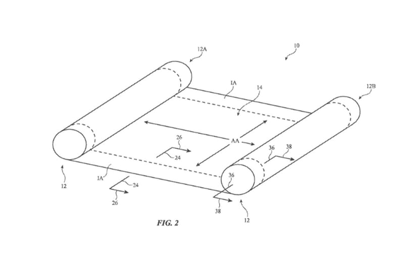
Apple Has Patented a Flexible, Rollable Display
Tech & Gadgets

Apple Has Patented a Flexible, Rollable Display

Potentially using it for future iPhones and iPads.

Apple To Pay $300 Million USD Over LTE Patent Violation
Tech & Gadgets 

Apple To Pay $300 Million USD Over LTE Patent Violation

In a lawsuit against wireless tech company Optis.

A Redesigned iPad Mini Will Reportedly Launch This Fall
Tech & Gadgets

A Redesigned iPad Mini Will Reportedly Launch This Fall

Here’s everything we know right now.

Apple Might Go Supersized With Its Next iPad
Tech & Gadgets

Apple Might Go Supersized With Its Next iPad

Potentially releasing an even larger model than the current 12.9-inch iPad Pro.


YouTube Finally To Support Picture-in-Picture Mode on iPhone and iPad
Tech & Gadgets

YouTube Finally To Support Picture-in-Picture Mode on iPhone and iPad

And you don’t need to be a Premium subscriber to use it.

Apple's New M1 iPad Pros Are Much Faster Than Previous MacBook Pros
Tech & Gadgets

Apple's New M1 iPad Pros Are Much Faster Than Previous MacBook Pros

Pitting the Apple’s M1 chip against Intel’s Core i9 processor.

Apple's iOS 15 Will Reportedly Improve on iMessage and Revamp Your Lock Screen
Tech & Gadgets

Apple's iOS 15 Will Reportedly Improve on iMessage and Revamp Your Lock Screen

The iPad will also get a new home screen.

Rumored March Apple Event Expected to Introduce AirTags, new iPads and AirPods
Tech & Gadgets

Rumored March Apple Event Expected to Introduce AirTags, new iPads and AirPods

Believed to take place March 23.

Apple's Newly Patented Glasses Could Potentially Let You Unlock Multiple Devices
Tech & Gadgets

Apple's Newly Patented Glasses Could Potentially Let You Unlock Multiple Devices

A solution to help streamline the user experience.

CASETiFY and Disney Team Together for a Mickey Mouse-Themed Tech Accessory Collection
Tech & Gadgets

CASETiFY and Disney Team Together for a Mickey Mouse-Themed Tech Accessory Collection

Featuring Mickey Mouse cases for the iPhone, Airpods, MacBooks, iPad, Samsung devices and more.

Load More
 

Looks like you’re using an ad-blocker

We charge advertisers instead of our readers. Support us by whitelisting our site.

Whitelist Us

How to Whitelist Us

screenshot
  1. Click the AdBlock icon in the browser extension area in the upper right-hand corner.
  2. Under “Pause on this site” click “Always”.
  3. Refresh the page or click the button below to continue.
screenshot
  1. Click the AdBlock Plus icon in the browser extension area in the upper right-hand corner.
  2. Block ads on – This website” switch off the toggle to turn it from blue to gray.
  3. Refresh the page or click the button below to continue.
screenshot
  1. Click the AdBlocker Ultimate icon in the browser extension area in the upper right-hand corner.
  2. Switch off the toggle to turn it from “Enabled on this site” to “Disabled on this site”.
  3. Refresh the page or click the button below to continue.
screenshot
  1. Click the Ghostery icon in the browser extension area in the upper right-hand corner.
  2. Click on the “Ad-Blocking” button at the bottom. It will turn gray and the text above will go from “ON” to “OFF”.
  3. Refresh the page or click the button below to continue.
screenshot
  1. Click the UBlock Origin icon in the browser extension area in the upper right-hand corner.
  2. Click on the large blue power icon at the top.
  3. When it turns gray, click the refresh icon that has appeared next to it or click the button below to continue.
screenshot
  1. Click the icon of the ad-blocker extension installed on your browser.You’ll usually find this icon in the upper right-hand corner of your screen. You may have more than one ad-blocker installed.
  2. Follow the instructions for disabling the ad blocker on the site you’re viewing.You may have to select a menu option or click a button.
  3. Refresh the page or click the button below to continue.