Hypebeast
Hypebae
Hypeart
Hypemaps
HBX
註冊 Hype 帳戶,可享受 Hype 品牌旗下獨有功能和福利。
註冊
登錄
繁體中文
简体中文
Deutsch
English
Filipino
Français
Indonesian
Italiano
日本語
한국어
Português
ภาษาไทย
下載 HYPE App
掌握最新潮流脈搏,絕不錯過任何重要時刻與焦點。
了解更多
熱門趨勢
Nike
New Balance
Mcdonalds
Pokémon
Pokémon TCG. McDonald’s
Jordan Brand
Nike+ Basketball
Nike SNKRS
Hypebeast
Hypebeast
Hypebae
Hypeart
Hypemaps
HBX
下載 HYPE App
HC
Hypecoins
帳戶
帳戶
繁體
時裝
球鞋
藝文
設計
音樂
生活
汽車
飲食
遊戲
電影及劇集
體育
科技與電子產品
旅遊
視頻
品牌
品牌排名
品牌目錄
更多
時裝
球鞋
藝文
設計
音樂
生活
影片
品牌
網店
時裝
球鞋
藝文
設計
音樂
生活
視頻
品牌
網店
Footwear 球鞋
純屬意外?網友疑似搶先收到 Air Jordan 1「Bred Toe」未發售鞋款
知名電商 Eastbay 疑似寄錯鞋款?
編輯 :
Noel Lee
/
2017年11月29日
2017年11月29日
8
Views
0
評論
評論
Save
Sports 體育
Business Insider 公佈 2017「全球體育球隊平均薪資」排行榜
那麼每隻球隊的最高薪水又有多少呢?
編輯 :
Jas
/
2017年11月29日
2017年11月29日
11
Views
0
評論
評論
Save
Fashion 時裝
Hodinkee x Swatch SISTEM51 帶來全球知名手錶平台最經濟的錶款
兩個手錶界最有名的單位。
編輯 :
jer
/
2017年11月29日
2017年11月29日
17
Views
0
評論
評論
Save
Tech & Gadgets 科技與電子產品
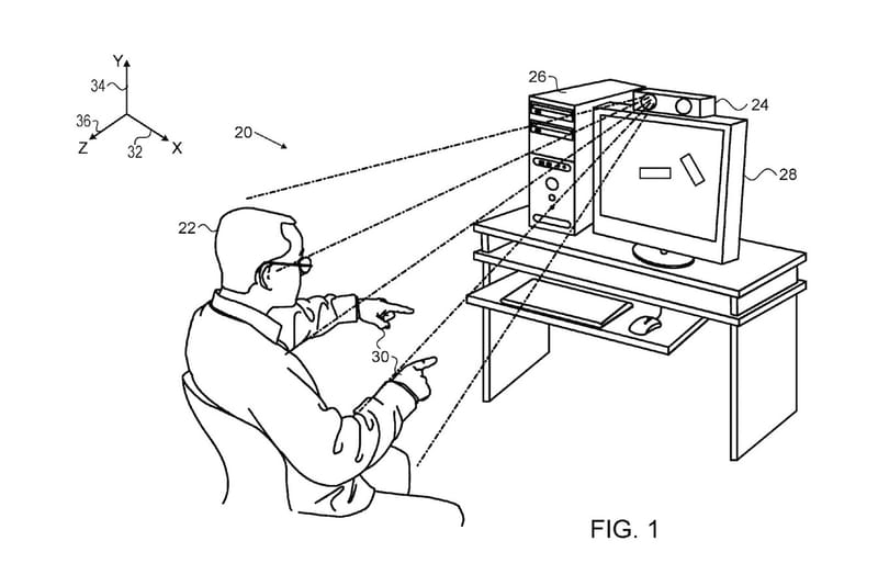
Apple 的 PrimeSense 團隊最新專利將允許以 3D 手勢控制 Mac
再一次把 Microsoft Kinect 的技術發揮運用。
編輯 :
Sai
/
2017年11月29日
2017年11月29日
26
Views
0
評論
評論
Save
Footwear 球鞋
YEEZY Season 5 帶來了最新的全枯樹迷彩軍靴
Season 5 的獨特要素。
編輯 :
jer
/
2017年11月29日
2017年11月29日
12
Views
0
評論
評論
Save
Fashion 時裝
Off-White 2017 秋冬「Firetape」系列正式上架
全新「FIRE LINE DO NOT CROSS」元素亮相。
編輯 :
Jas
/
2017年11月29日
2017年11月29日
11
Views
0
評論
評論
Save
Footwear 球鞋
adidas Originals EQT Support 93/17 全新 GORE-TEX 版本
革新鞋款與機能材質的完美結合。
編輯 :
Eric Hsu
/
2017年11月29日
2017年11月29日
17
Views
0
評論
評論
Save
Fashion 時裝
NikeLab ACG 2017 假日系列釋出造型錄
從大自然中汲取靈感。
編輯 :
Sai
/
2017年11月29日
2017年11月29日
24
Views
0
評論
評論
Save
Fashion 時裝
Wan Hung 2018 春夏系列 Lookbook
運動風與現代時尚的完美融合。
編輯 :
Jerry Qi
/
2017年11月29日
2017年11月29日
3
Views
0
評論
評論
Save
Footwear 球鞋
OVO x Timberland 6-Inch Boots 聯乘靴款發售日期揭曉
Drake 終於迎來個人最愛靴款的聯名版本。
編輯 :
Jas
/
2017年11月29日
2017年11月29日
30
Views
0
評論
評論
Save
More ▾
繁體中文
帳戶
類別
更多
網店
其他網站
關於我們